BGA-Top-96 ZIF-CS
Best. Nr.: 70-0700

Top-Board von BGA Adaptern.
Der verwendete ZIF Sockel akzeptiert viele Variationen des BGA-Gehäuses und damit verbundene Unterschiede in Ball-Durchmesser, Ball-Höhe und Body-Dicke. Die Abbildung unter Gehäuse-Form zeigt die Variationen aller Abmessungen des BGA-Gehäuses, die von diesem BGA-Top- Board akzeptiert werden.
Lebensdauer (mechanisch) des ZIF Sockel - 500.000 Zyklen.

Best. Nr.: 70-0700
Sockel ZIF BGA216, (abgespecktes Array mit (204) Federkontakten),Typ ClamShell
Fuß 8+3 Reihen, 8x25+3x20 Pins, 0.6x0.6mm,
Ordnung BGA/LGA
Unterordnung BGA-Top

 

Best. Nr.: 70-0700
Preis:        € 850,00 zzgl. MwSt.

Converter Bedienungs-Anleitung

  • Schützen Sie die Kontakte des Adapters vor Verunreinigung. Berühren Sie nicht die Pins mit bloßen Fingern. Jegliche "Beschmutzung" ("Fettfinger") kann Fehler bei der Programmierung verursachen.
  • Der Gebrauch einer Vakuum Pipette ist unerlässlich.
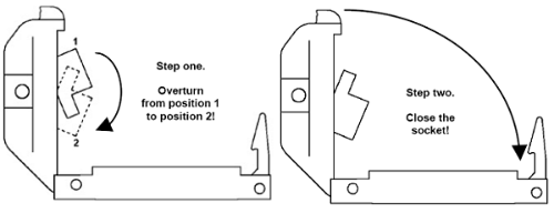
  • Seien Sie vorsichtig! Das verkehrte Einsetzen des Adapters in den ZIF-Sockel des Programmers oder das unkorrekte Einsetzen des ICs in den ZIF-Sockel des Converters kann zu Schäden führen.
  • Um BGA Devices programmieren zu können, ist es notwendig, das BGA-Top-96 ZIF-CS Board mit einem BGA-Bottom-x Board zusammen zu stecken. Welches BGA-Bottom Board benötigt wird, entnehmen Sie bitte der PG4UW Software.
  • Umwelt-Bedingungen: Betriebs-Temperatur 5°C ÷ 40°C (41°F ÷ 104°F), Luftfeuchtigkeit 20%...80%, keine Kondensierung.
  • Für den Umgang mit dem Bauteil empfehlen wir eine Vakuum Pipette.

Gehäuse - Form

BGA Gehäuse  

 

NAME

SYMBOL MIN NOM MAX

Profile

A - - 1.2

Ball Height

A1 0.2 - -

Body Thickness

A2 0.79 - 0.96

Ball Diameter

b 0.325 0.375 0.425

Body Size

D - 13 -

Body Size

E - 8 -

Ball Pitch

e - 0.65 -

Ball Array D

GD - 19 -

Ball Array E

GE - 12 -
 

 Back to top

Die Informationen in diesem Dokument können ohne vorherige Ankündigung geändert werden.